站大爷代理IP工具,作为一款集专业性与易用性于一身的免费软件,凭借其卓越的性能和人性化的设计理念,在众多代理IP工具中独树一帜,深受用户青睐。它不仅功能全面,而且用户体验极佳,让人一旦上手便难以割舍。
站大爷代理IP工具软件功能
一、多样化的代理IP导入方式
为了全方位满足用户的多样化需求,站大爷代理IP工具精心设计了多种便捷的导入方式:
1.站大爷API接口导入:借助站大爷提供的API接口,用户可以轻松实现代理IP数据的快速导入与高效更新。
2.TXT文本导入:对于已拥有代理IP列表的用户,只需将列表保存为TXT文本格式,即可通过工具直接导入,无需繁琐的手动输入,极大地节省了时间。
3.包含代理IP的链接导入:如果获取代理IP的API接口不是由站大爷提供的,用户也可在此处便捷地导入,进一步拓宽了导入方式的灵活性。
二、高效的代理IP验证机制
在代理IP验证方面,站大爷代理IP工具同样表现出众,提供了多种验证方式及详尽的验证结果展示:
1.自定义验证网址:用户可根据实际需求设置验证网址,确保验证出的代理IP能够顺利访问目标网站,这一功能使得工具在特定应用场景下更加灵活实用。
2.多线程与多目标网址验证:通过灵活设置线程数量、验证超时时间以及多个验证网址,工具能够高效准确地筛选出所有能访问这些网址的有效代理IP,大大提高了验证效率。
3.指定代理IP验证:用户可根据实际需求选择验证当前列表中的IP、已勾选的IP或尚未验证的IP,实现精准验证。
4.丰富的验证结果展示:验证结果不仅直观显示代理IP的有效性,还包含匿名度类型、地理位置、延迟时间、协议类型、入库时间、最后验证时间以及本地存活时间等详细信息,为用户提供全面的代理IP信息参考。
三、灵活的代理IP筛选功能
为了满足不同应用场景的多样化需求,站大爷代理IP工具提供了灵活的筛选功能。用户可根据IP地址、端口号、协议类型、地理位置、匿名类型、状态以及延迟等条件进行筛选,快速定位到符合要求的代理IP。
四、便捷的批量操作功能
为了方便用户管理代理IP列表,站大爷代理IP工具特别设计了多种批量操作功能:
批量删除:用户可轻松删除当前列表中的IP、已勾选的IP、列表中的无效IP或清空所有IP,实现快速清理和优化代理IP列表。
批量导出:用户可将当前列表中的IP、已勾选的IP、列表中的有效IP或所有IP导出为TXT文本格式,方便在其他设备或软件中使用。
五、一键设置与取消代理IP功能
为了进一步提升用户体验,站大爷代理IP工具特别增加了一键设置与取消代理IP的功能。
用户只需选择一个代理IP,通过右键点击即可一键设置为IE代理,省去了手动在浏览器上设置代理的繁琐步骤。同样地,取消代理IP设置也极为简便,用户可通过右键点击该IP取消IE代理,或直接在软件右上角单击"取消IE代理"按钮即可实现。
六、完善的使用教程与客服支持
为了让用户更好地使用站大爷代理IP工具,我们特别提供了详细的使用教程和专业的客服支持。用户在使用过程中遇到任何问题或疑问,均可直接联系网站客服寻求帮助。我们始终致力于为用户提供最优质的服务体验。
站大爷代理IP工具安装步骤 :
下载压缩包后,直接解压,双击exe文件,直接下一步即可完成安装,十分简单。
站大爷代理IP工具使用教程
一、导入代理IP
A、站大爷API接口导入
站大爷代理IP工具支持API接口服务,让代理IP的导入变得轻松快捷。操作步骤如下:
1. 生成API接口:首先,您需要在站大爷平台上开通代理IP服务,然后根据您的需求生成相应的API接口。如果您是第一次使用(以短效优质代理为例),可以参考《如何使用短效优质代理IP》教程,它会给您提供详细的指导。
2.导入代理IP:在站大爷代理IP工具中,点击"站大爷API接口",在弹出的对话框中输入您的API接口链接。选择相应的协议(例如,短效优质代理是http/https协议),然后点击"导入",即可将代理IP列表快速导入到工具中。
B、TXT文本导入
如果您已经有了一个代理IP列表,站大爷代理IP工具同样支持TXT文本导入功能。这样,您就可以省去手动输入的麻烦。操作步骤如下:
1. 将您的代理IP列表保存为TXT文本格式,确保每个IP地址和端口号之间用冒号分隔,如下图所示:
2.在站大爷代理IP工具中,点击"TXT文本导入",在弹出来的对话框中选择代理协议,然后选择您保存的TXT文件,即可导入代理IP列表到工具中。
C、包含代理IP的链接导入
即使您的代理IP来源于其他平台,站大爷代理IP工具也能轻松导入。操作步骤与站大爷API接口导入类似:
1. 在站大爷代理IP工具中,点击"包含代理IP的链接"。
2. 在弹出的对话框中输入提取代理IP的链接地址。
3. 选择相应的协议,然后点击"导入",即可将代理IP从链接中导入到工具中。
二、验证代理IP
A、自定义验证网址
想象一下,您需要访问特定的网站,而站大爷代理IP工具可以让您自定义验证网址,确保选出的代理IP能够顺利访问这些网站。
1. 打开站大爷代理IP工具,点击"验证设置"。在这里,您会看到一个默认的验证网址或者以前添加过的网址。如果您的目标网站与之不同,点击"添加验证网址",添加新的验证网址。
2. 点击"添加验证网址"后,在弹出的对话框里输入您要访问的目标网址,并提供HTML特征字符串(这通常可以通过查看目标网站的源代码来找到)。最后别忘了选择正确的网页编码,比如gb2312或utf-8。
二、多线程与多目标网址验证
站大爷代理IP工具的多线程验证功能,让您可以同时验证多个代理IP访问多个网址,大大提升了验证效率。
1. 如果您需要访问多个目标网址,可以添加多个验证网址。记得,添加后默认是"禁用"状态,您需要右键点击"启用"。
2. 如果您只想验证部分网址,可以右键点击不需要的网址选择"禁用"或"删除验证网址"。
3. 启用验证网址后,您可以根据需要设置"验证超时时间"和"并发线程数量"。如果没有特别需求,使用默认设置也是一个不错的选择。
三、指定代理IP验证
站大爷代理IP工具允许您精确选择要验证的代理IP,可以是"当前列表中IP"、"已勾选的IP"或者是"当前列表尚未验证的IP"。
在验证代理IP时,请注意您的授权模式。如果是"用户名+密码"模式,请勾选相应选项并输入正确的凭据,然后点击"保存并开始验证"。
四、丰富的验证结果展示
站大爷代理IP工具验证代理IP的结果非常丰富,不仅告诉您代理IP是否有效,还提供了匿名度类型、地理位置、延迟时间、协议类型、入库时间、最后验证时间以及本地存活时间等信息。这些信息可以帮助您全面了解每个代理IP的状态,做出更明智的选择。
三、筛选代理IP
精准定位IP段
想要找到特定IP段的代理IP?很简单!
在"IP地址"字段中输入您想要的IP段,比如"223.247",点击"筛选",工具就会展示所有符合这一IP段的代理IP。
一键返回全列表
筛选完成后,如果想回到最初的全代理IP列表,只需点击"显示所有IP",一切就如初见。
协议类型轻松区分
列表中混杂了http/https和socks5代理IP?没问题。通过"协议类型筛选",您可以轻松将它们区分开来,各取所需。
地理位置精准筛选
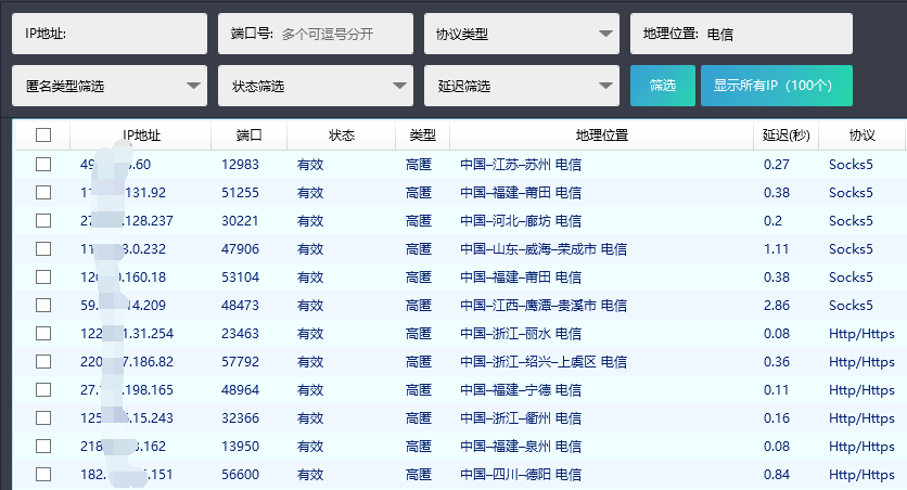
需要某个地区或几个地区的IP?在"地理位置"字段中输入具体的省或市,比如"四川"或"成都"。记得,不需要加上"省"或"市"哦。
运营商IP手到擒来
想要特定运营商的IP?同样在"地理位置"字段中输入运营商名称,比如"电信"或"联通",就能一键筛选出所有相关IP。
高匿代理IP一键获取
寻找高匿名性的代理IP?在"匿名类型筛选"中选择"高匿",点击"筛选",所有高匿代理IP即刻呈现。
有效代理IP快速锁定
需要确保代理IP的有效性?在"状态筛选"中选择"有效",点击"筛选",所有有效的代理IP就会一一列出。
延迟时间自由设定
对代理IP的响应速度有要求?在"延迟筛选"中设定您期望的延迟时间,点击"筛选",工具会为您找出所有响应速度达标的代理IP。
407 Proxy Authentication Required错误
原因:客户端在尝试通过代理服务器发送请求时,未提供正确的身份验证信息。
解决方案:
确保在客户端正确设置代理服务器的地址、端口以及身份验证信息(如用户名和密码)。
检查程序代码,确保认证方式的正确性。
如终端公网IP地址发生变化,需重新绑定使用者终端IP进行授权。
站大爷代理IP工具更新日志:
将bug扫地出门进行到底
优化用户反馈的问题,提升细节体验
华军小编推荐:
站大爷代理IP工具小编亲自鉴定,童叟无欺!本站还有类似软件心蓝IP自动更换器、批量IP查询、IP搜索批量修改工具、ping检测工具(Friendly Pinger)、IP地址切换工具(IPWhiz),欢迎点击下载体验!


















您的评论需要经过审核才能显示